|

机器人码垛机单元和构造方法

当前位置:网站首页 > 新闻中心 > 行业新闻

机器人码垛机单元和构造方法
信息来源:本站 | 发布日期: 2019-01-20 | 浏览量:
关键词:机器人码垛机单元和构造方法

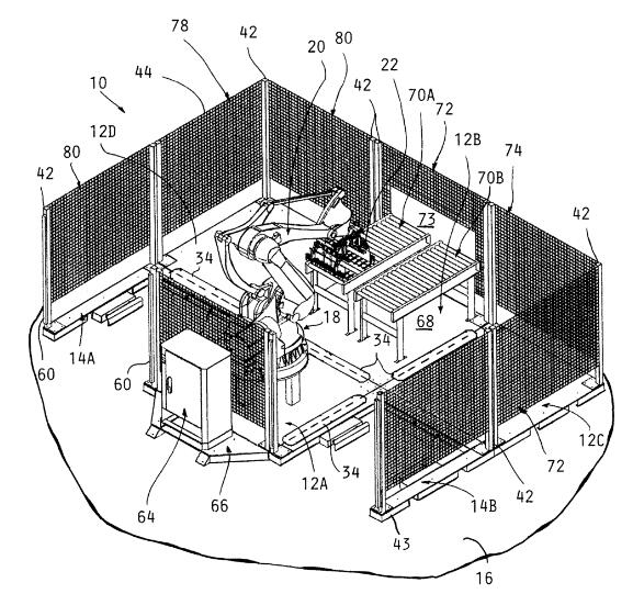
一种通过提供方形平台基座来构造机器人码垛单元的方法,所述方形平台基座被组装成彼此邻接的阵列,每个平台基座安装码垛设备的相应部件,例如机器人,一个或多个输送机,衬纸箱,排放模块等,其中一个平台基部锚固到工厂地板,其余部分连接到平台基座中的一个或另一个以形成平台基座阵列,从而通过平台的装配将各种设备彼此适当地定位基地。安全围栏部分安装在一个或多个外侧的顶上,以基本上封闭码垛机单元内的空间。每个平台基座形成有侧开口,侧开口可以与叉车的叉齿接合。


包括提供多个均匀的基本上正方形的平台基座;将至少一个平台基座固定到支撑工厂车间;将所述平台基座中的一个或多个安装到所述平台基座的至少一侧,并将其余平台基座的一侧或多侧放置成与另一平台基座的侧面接触并将其保持在所述位置,从而创建一系列平台基座保持在适当位置,至少一个平台基座固定在所述支撑工厂地板上;将拾取和放置机器人安装到所述平台基座之一上,并分别在一个或多个所述平台基座上安装单个拾取输送机,双拾取输送机或滑板箱。

机器人码垛机单元和构造方法

相关文章
相关产品
  • 机器人码垛机
    机器人码垛机
  • 毛重式
    毛重式
  • 自动上袋机
    自动上袋机
  • 自动缠绕机
    自动缠绕机
  • 重量校验秤
    重量校验秤
  • 整形机
    整形机
  • 折边机
    折边机
  • 剔除机
    剔除机
关于我们
公司简介
企业文化
荣誉资质
合作伙伴
产品展示
定量包装系统
过程计量
吨/大包装机
液体灌装机
机械手码垛机
全自动包装生产线
气力输送系统
粉体工程
新闻动态
公司新闻
行业新闻
工程案例
化工行业
食品行业
医药制品
联系我们
地址:常州高新区黄河西路5号
邮箱:chjg8800@163.com
邮编:213022
Top